Паркет штучный массив (порода дуб) / Пм
Производитель: Гомельдрев
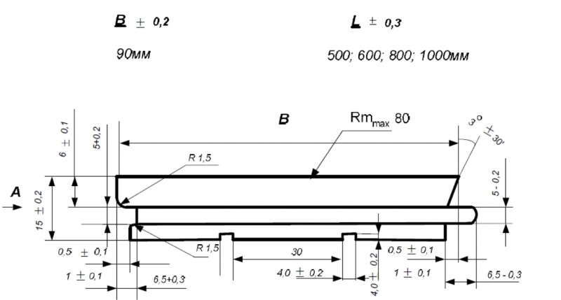
Соответствует требованиям: СТБ 1454-2004
Год начала выпуска: 2011
Длина L, мм: 240, 1200
Толщина, мм: 15.00
Ширина B, мм: 40, 90
Масса 1 м2, кг: 10.20
Рубрики: Изделия деревянные
Детали профильные: доска подоконная, доска пола, наличник, плинтус, обшивка, поручень и другие пиломатериалы
Детали профильные: доска подоконная, доска пола, наличник, плинтус, обшивка, поручень и другие пиломатериалы
Обновлено: 27.06.2017
Длина L, мм - 240-1200. Ширина B, мм - 40-90.

Отзывы